Egy igen érdekesnek nevezhető szabadalmat szúrtak ki nemrég a Glixel munkatársai. Október 17-én az Activision beadványa került be ugyanis az USA-ban elfogadott szabadalmak adatbázisába, amely alapvetően a multiplayer játékokban mikrotranzakcióra történő buzdításról szól. Hogy ez konkrétan mit jelent? Azt, hogy leírták a dokumentumban, hogy milyen módon lehet szerintük befolyásolni a matchmaking (azaz a játékosok csoportosításának) metódusát annak érdekében, hogy minél nagyobb eséllyel történjen vásárlás a játékokban. Lássuk hát egy konkrét példán keresztül, hogy mire is gondoltak!
A matchmaking ugyebár azt a módszert jelenti, amelynek során a játékszerver megpróbálja úgy csoportosítani a játékosokat, hogy lehetőleg kiegyensúlyozott csapatok legyenek, vagy hasonló képességű gamereket hozzanak össze egymással a játékban, többek közt annak érdekében, hogy ne menjen el a kedvük azonnal az egész multiplayer játékélménytől. A szabadalomban egyrészt erről a folyamatról esik szó, aztán azonban rátérnek arra, hogy mindezt olyan irányban is lehet szabályozni, hogy mikrotranzakciós vásárlásra buzdítsák az egyszeri gamert.
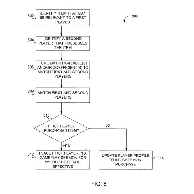
Képzeljünk el például egy kezdő játékost, akiről a profiladatok alapján látja a rendszer, hogy sniperként szeretne érvényesülni. A matchmaking során keresnek mellé egy olyan profi játékost, aki hozzá hasonlóan sniper, így gyakorlatilag mintát kap az előbbi arra, hogy milyen felszereléssel lehet sikeres, mi az, amire érdemes lenne egy kis pénzt költenie a játékban – például egy konkrét mesterlövészpuska. Ha pedig megtörténik a vásárlás, akkor a rendszer következőnek egy olyan helyzetbe, meccsbe rakja bele a játékost, ahol az adott felszerelés pont remekül használható, ezzel kvázi igazolva, hogy jó döntést hozott a játékos, amikor megvette a cuccot. Így pedig várhatóan később is újra meg újra költeni fog a játékban. Trükkös, nem?
A szabadalom szövegében bár az FPS-ekben használt kifejezések szerepelnek, külön kiemelik, hogy a módszerek játéktípustól függetlenül alkalmazhatóak.
Az eredeti hír megjelenését követően az Activision azt nyilatkozta, hogy ez a szabadalom csak a fejlesztőcsapatoktól független kutatásaik eredményét foglalta össze, amelyet még 2015-ben adtak be a hivatalnak, játékaikban nem használták fel a benne ismertetett módszereket. A Destiny 2 mikrotranzakciós rendszere kapcsán az elmúlt hetekben sokat kritizált Bungie külön reagált az ügyben, jelezve, hogy ők se alkalmazták a szabadalomban említett megoldásokat játékukban.
Mit gondoltok, el fog menni valóban ebbe az irányba a játékpiac? (Vagy már el is ment?) Pár évvel ezelőtt egy fejlesztővel beszélgetve hallottam egy konkrét példát, miszerint abban a játékban, amelyen dolgozott (és itt szándékosan nem árulnám el, melyik játékról van szó), figyelik a vásárlásokat, azt, hogy ki mikor, mire költ benne, és ezen adatok birtokában előfordulhat az is, hogy alakítják az árazást is. A dolog másik oldala persze az, hogy ha megvan valamire a kereslet (lásd például: Call of Duty pályacsomag DLC-k), addig a kiadó érthetően nem fogja veszni hagyni az ilyen bevételi forrást. A kérdés inkább az marad, hogy mennyire élnek vissza a rendelkezésükre álló lehetőségekkel – csak bízni tudunk benne, hogy nem nagyon. Vagy ha mégis, akkor a játékosok felháborodása söpri el esetleg a dolgot...

